发布时间:2026-01-14

英塑可换钢扣专利是一种创新的五金件解决方案,为解决传统底盒安装中因螺母异常导致的固定失效和返工问题。该产品采用先进的防锈电镀工艺确保长期耐用性,避免生锈问题,从而提升施工便捷性和用户满意度。以下是其核心特点和技术优势:

1.可更换设计解决施工痛点。
传统底盒在安装前后若发现螺母异常(如滑丝、变形次品等),往往需要整体更换或返工,既耗时又影响施工效率。英塑专利设计钢扣采用可拆卸挡板保护设计,允许单独更换损坏的螺母部分,无需拆除整个底盒,大幅降低返工成本。


2.防锈电镀工艺确保耐久性
采用高性能电镀技术,有效抵抗潮湿环境和化学腐蚀。电镀层均匀覆盖钢扣表面,包括螺纹区域,避免传统喷涂或烤漆工艺的镀层不足问题。-通过中性盐雾测试验证防锈性能显著优于普通镀锌材料,大大堤升了使用寿命!
3.施工便捷性与用户体验提升
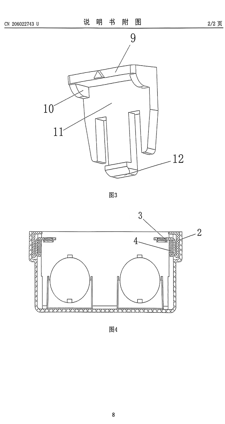
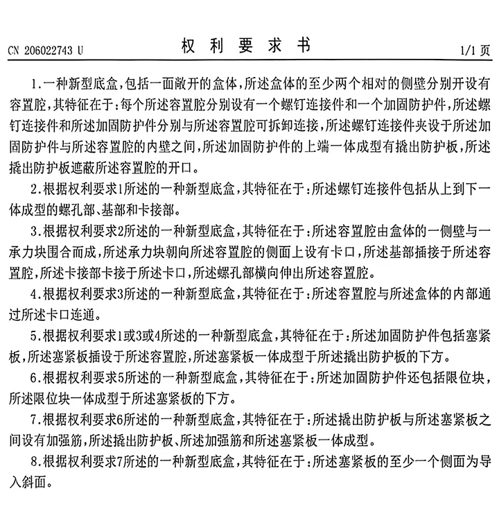
钢扣内侧设计与塑钢金属紧密咬合,防止松动脱落,为锁固问题提供了解决方案安装过程无需特殊工具兼容常见施工流程,减少工人操作复杂度,同时避免因临时修补导致的后期质量问题,